Appearance
《石油化工钢结构防火保护技术规范》SH 3137-2013
🗓️ 工业和信息化部 实施时间:2014-03-01
前言
中华人民共和国石油化工行业标准
石油化工钢结构防火保护技术规范
Technical specification of fire protection for steeI structures in petrochemical industry
SH 3137 2013
2013-10-17发布 2014-03-01实施
中华人民共和国工业和信息化部
根据中华人民共和国工业和信息化部《2010年第一批行业标准制修订计划》(工信厅科[2010]74号)的要求,规范编制组经广泛调查研究,认真总结实践经验,参考有关国际标准和国外先进标准,并在广泛征求意见的基础上,修订本规范。
本规范共分9章和3个附录。
本规范的主要技术内容是:范围、规范性引用文件、防火保护设计基本规定、建筑物防火保护、构筑物防火保护、防火保护材料及保护层厚度的确定、防火保护层的构造、防火保护工程质量要求及工程验收。
本规范是在SH 3137-2003《石油化工钢结构防火保护技术规范》的基础上修订而成,修订的主要技术内容是:
——由于GB 50160《石油化工企业设计防火规范》的修订而引起的部分条款修改;
——增加了室外超薄型钢结构防火涂料的技术要求;
——对部分条款进行了完善。
本规范中以黑体字标志的条文为强制性条文,必须严格执行。
本规范由中国石油化工集团公司负责管理,由中国石油化工集团公司建筑设计技术中心站负责日常管理,由中石化洛阳工程有限公司负责具体技术内容的解释。执行过程中如有意见和建议,请寄送日常管理单位和主编单位。
本规范日常管理单位:中国石油化工集团公司建筑设计技术中心站
通讯地址:河南省洛阳市中州西路27号
邮政编码:471003
电话:0379-64887187
传真:0379-64887187
本规范主编单位:中石化洛阳工程有限公司
通讯地址:河南省洛阳市中州西路27号
邮政编码:471003
本规范参编单位:中国石化工程建设有限公司
长岭炼化岳阳工程设计有限公司
公安部四川消防研究所
江苏金陵特种涂料有限公司
宜兴市中电节能工程有限公司
上海正臣防腐科技有限公司
本规范主要起草人员:郑洪忠 嵇转平 王松生 史恒通 刘德文 王良伟 冯有富 殷学文 刘文慧 刘冬梅
本规范主要审查人员:张克峰 邱正华 黄钟喜 刘坤明 李立昌 应付钊 邱石 李开文 崔忠涛 任意 熊英 唐健 赵福运
本规范1999年首次发布,2003年第1次修订,本次为第2次修订。
1 范围
本规范规定了石油化工生产区建(构)筑物钢结构的防火保护范围、材料、构造、施工及工程质量要求。
本规范适用于石油化工生产区新建、改建或扩建工程建(构)筑物钢结构防火保护的设计、施工及验收。
2 规范性引用文件
下列文件对于本规范的应用是必不可少的。凡是注日期的引用文件,仅注日期的版本适用于本规范。凡是不注日期的引用文件,其最新版本(包括所有的修改单)适用于本规范。
GB/T 8923 涂装前钢材表面锈蚀等级和除锈等级
GB 14907 钢结构防火涂料
GA/T 714 构件用防火保护材料快速升温耐火试验方法
CECS 24:90 钢结构防火涂料应用技术规范
3 防火保护设计基本规定
3.1 石油化工生产区符合下列规定的构筑物钢结构,应进行防火保护设计:
a)单个容积等于或大于5m³的甲、乙A类液体设备的承重钢框架、钢支架;
b)在爆炸危险区范围内,且处理、储存或输送毒性为极度危害和高度危害介质设备的承重钢框架、钢支架;
c)操作温度等于或高于自燃点的单个容积等于或大于5m³的乙B、丙类液体设备的承重钢框架、钢支架;
d)在爆炸危险区范围内的装置主管廊的钢管架;
e)在爆炸危险区范围内的高径比等于或大于8,且总质量等于或大于25t的非可燃介质设备的承重钢框架、钢支架;
3.2 石油化工生产厂区符合下列规定的建筑物钢结构,应进行防火保护设计:
a)生产的火灾危险性分类符合附录A规定的厂房;
b)仓库储存物品的火灾危险性分类符合附录B规定的仓库。
4 建筑物防火保护
4.1 钢结构厂房耐火等级
4.1.1 钢结构厂房的耐火等级按附录A表A.1中的生产类别和厂房的建筑面积确定,并应符合表4.1.1的规定。
4.1.2 厂房内防火分区之间应采用防火墙分隔。除甲类厂房外的一、二级耐火等级厂房,当其防火分区的建筑面积大于本表规定,且设置防火墙确有困难时,可采用防火卷帘或防火分隔水幕分隔。
4.1.3 厂房内的操作平台、检修平台,当使用人员少于10人时,该平台的面积可不计入所在防火分区的建筑面积内。

4.1.4 厂房内设置自动灭火系统时,每个防火分区的最大允许建筑面积可按本表的规定增加1.0倍。当丁、戊类的地上厂房内设置自动灭火系统时,每个防火分区的最大允许建筑面积不限。厂房内局部设置自动灭火系统时,其防火分区增加面积可按该局部面积的1.0倍计算。
4.1.5 建筑面积不大于300㎡的独立甲、乙类单层厂房,可采用三级耐火等级的建筑
4.2 钢结构仓库耐火等级
4.2.1 钢结构仓库的耐火等级应按附录B表B.1储存物品类别和建筑面积确定,并应符合表4.2.1的规定。


4.2.2 钢结构仓库的耐火等级应符合表4.2.1的规定外,还应符合下列规定:
a) 仓库中的防火分区之间应采用防火墙分隔;
b) 仓库中设置自动灭火系统时,每座仓库最大允许占地面积和每个防火分区最大允许建筑面积可按本表的规定增加1.0倍。
4.3 钢结构建筑物构件耐火极限
4.3.1 厂房和仓库钢结构建筑物构件的耐火极限不应低于表4.3.1的规定。


4.3.2 甲、乙类厂房及甲、乙、丙类仓库的防火墙,其耐火极限应按表4.3.1的规定提高1.00h。
4.3.3一、二级耐火等级的单层厂房(仓库)的柱,其耐火极限可按表4.3.1的规定降低0.50h。
4.3.4 设置有自动灭火系统时,二级耐火等级的单层丙类厂房的梁、柱、屋顶承重构件及多层丙类厂房的屋顶承重构件和丁、戊类厂房(仓库)的梁、柱、屋顶承重构件可采用无防火保护的金属结构,其中能受到甲、乙、丙类液体或可燃气体火焰影响的部位,应采取外包敷不燃材料或其他防火隔热保护措施。
4.3.5 一级耐火等级的单层或多层厂房(仓库)中采用自动喷水灭火系统进行全保护时,其屋顶承重构件的耐火极限不应低于1.00h。
4.4 建筑物构件的保护范围
4.4.1 单层钢结构的防火保护范围应符合下列规定:
a)轻型屋盖 地面以上10m范围内的柱、屋面梁(屋架或网架)及设备支架;
b)重型屋盖 屋面板以下的柱、承重柱间支撑、屋面梁(屋架或网架)及地面以上10m范围内的设备支架。
4.4.2 平台透空的多层钢结构的防火保护范围应符合下列规定:
a)轻型屋盖 地面以上10m范围内的柱、承重柱间支撑、框架梁、屋面梁(屋架或网架)及设备梁、设备支座;
b)重型屋盖 屋面板以下的柱、承重柱间支撑、屋面梁(屋架或网架)及地面以上10m范围内的框架梁、设备梁、设备支座。
4.4.3 平台封闭的多层钢结构的防火保护范围应符合下列规定:
a)轻型屋盖 地面至有甲、乙、丙类可燃物质的平台面及其以上10m范围内的柱、承重柱间支撑、屋面梁(屋架或网架)及框架梁、设备梁、设备支座;
b)重型屋盖 屋面板以下的柱、承重柱间支撑、屋面梁(屋架或网架)及地面至有甲、乙、丙类可燃物质的平台面及其以上10m范围内的框架梁、设备梁、设备支座。
5 构筑物防火保护
5.1 钢结构构筑物构件的耐火极限不应低于1.50h。
5.2 符合本规范3.1条的构筑物钢结构的防火保护范围应符合下列规定:
a)支承设备的钢框架的下列构件:
1)单层钢结构 框架的柱、承重柱间支撑、框架梁及设备梁,设备支座、空冷器支架;
2)平台透空的多层钢结构 地面以上10m范围内的框架柱、承重柱间支撑、框架梁及设备梁、设备支座、空冷器支架;
3)平台封闭的多层钢结构 地面至有甲、乙A、乙B、丙类可燃液体的平台面及其以上10m范围内的框架柱、承重柱间支撑、框架梁及设备梁、设备支座、空冷器支架。
b)支承设备的钢支架;
c)主管廊钢管架的下列构件:
1)地面以上至支承底层管道的梁、柱,当底层梁低于4.5m时,耐火层应覆盖至4.5m;
2)上部设有空冷器时,其全部框架柱、承重柱间支撑、框架梁及空冷器支撑梁、空冷器支架;
3)下部设有液化烃或可燃液体的泵时,地面以上10m范围内的柱、承重柱间支撑、框架梁。
6 防火保护材料及保护层厚度的确定
6.1 一般规定
6.1.1 石油化工及其他易燃易爆产品在生产、储存、使用过程中采用的防火保护材料,应按GA/T714《构件用防火保护材料:快速升温耐火试验方法》的升温曲线进行试验。
钢结构防火保护材料不应含有石棉和甲醛,不宜采用苯类溶剂。在施工干燥后不应有刺激性气味,燃烧时不应产生浓烟和有害人身健康的气体。
6.1.2 钢结构防火保护材料应有产品质量证明文件和使用说明书,并应选择经国家检测机构检测合格的不腐蚀钢材的钢结构防火涂料或其他不燃烧性隔热材料。
6.1.3 钢结构防火保护材料的耐火极限不应低于建(构)筑物钢结构构件的耐火极限。
6.1.4 用于构件表面的防腐蚀底漆及用于防火保护层外表面的防腐蚀面层,均应与防火保护材料相适应,并具有良好的结合力,并应符合下列规定:
a)环氧富锌防腐蚀底漆的厚度不宜小于60μm,其他防腐蚀底漆的厚度不宜小于70μm;
b)当采用薄型和超薄型防火涂料时,环氧富锌防腐蚀底漆的厚度不宜大于100μm;其他防腐蚀底漆的厚度不宜大于150μm;当防火保护层采用厚型防火涂料时,防腐蚀底漆的最大厚度不受限制;
c)防火涂料涂装前,钢结构构件的表面不得出现返锈现像。
6.1.5 建(构)筑物室外或露天工程的钢结构不得选用室内型钢结构防火涂料。
6.2 材料
6.2.1 钢结构防火保护材料应根据使用条件、使用年限、材料性能和耐火极限等选用钢结构防火涂料、轻质耐火混凝土或水泥砂浆等。
6.2.2 用于钢结构的防火涂料的名称、代号及涂层厚度范围应符合表6.2.2规定。

6.2.3 室内钢结构防火涂料技术性能应符合表6.2.3的规定。防火涂料技术性能试验方法及综合判定准则应符合GB 14907《钢结构防火涂料》的规定。

6.2.4 室外钢结构防火涂料技术性能应符合表6.2.4的规定。表中的耐曝热性、耐湿热性、耐冻融循环性、耐酸性、耐碱性、耐盐雾腐蚀性等耐久性项目的技术要求,还应满足附加耐火性能的要求,方能判定该对应项性能合格。耐酸性和耐碱性可仅进行其中一项测试。试验方法及综合判定准则应符合GB14907《钢结构防火涂料》的规定。


6.2.5 轻质耐火混凝土技术性能应符合表6.2.5的规定。轻质耐火混凝土宜采用等级为42.5矿渣水泥配制,其配合比应通过试验确定。

6.2.6 水泥砂浆技术性能应符合表6.2.6的规定。

6.3 保护层厚度的确定
6.3.1 钢结构用防火涂料保护时,其厚度可按下列方法之一确定:
a)按照对钢结构不同构件耐火极限的要求,根据耐火试验数据选定相应的保护层厚度;
b)采用厚型防火涂料时,可根据标准耐火试验数据,按本规范附录C的计算方法确定防火保护层厚度。
6.3.2 钢结构用轻质耐火混凝土或水泥砂浆保护时,其厚度可分别按本规范6.2.5条、6.2.6条的规定执行。
7 防火保护层构造
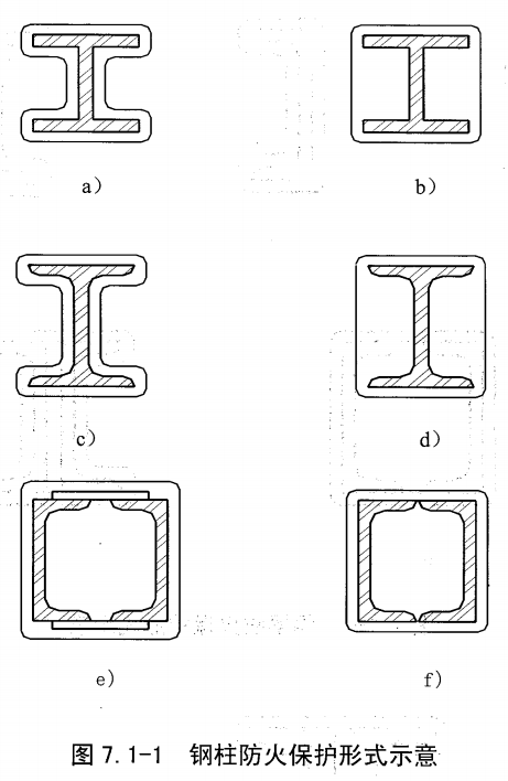
7.1 钢柱、钢梁、钢支撑及屋(网)架杆件可按图7.1-1、7.1-2、7.1-3、7.1-4的形式进行防火保护,并符合下列规定:
a)图7.1-1中b)、d)仅适用于轻质耐火混凝土防火保护层;
b)图7.1-2适用于梁顶有覆盖层(如铺板等)的情况;
c)图7.1-3适用于梁顶无覆盖层的情况。
7.2 厚型防火涂料保护层构造应符合下列规定:
a)涂层构造应包括基层、防腐蚀底漆、防火涂层;
b)对于不要求在构件表面设拉结镀锌钢丝网的涂料,当涂层厚度等于或大于25mm或其粘结强度小于0.05MPa时,在构件表面设置拉结镀锌钢丝网,钢丝网的规格采用丝径Φ0.5mm~Φ1.5mm、网孔20×20(mm)~50×50(mm);
c)若在涂层内设置镀锌钢丝网时,应将钢丝网固定在钢结构上,钢构件体量大时,采用钢丝网丝径和网孔应取大者,镀锌钢丝网与钢结构之间应留有6mm左右间隙,网片铺设要平整牢固;
d)当处于强腐蚀环境时,应在防火保护层外表面采用耐腐蚀的聚合物水泥浆或采用耐碱的阻燃型防腐蚀涂料(不少于两遍)防腐蚀面层,并应符合本规范6.1.4a)项的规定;
e)涂层拐角做成半径为10mm的圆弧形。
7.3 薄型和超薄型防火涂料保护层构造应符合下列规定:
a)涂层构造应包括基层、防腐蚀底漆、防火涂层;
b)当处于强腐蚀环境时,应选用耐腐蚀的钢结构防火涂料。
7.4 轻质耐火混凝土防火保护层或水泥砂浆防火保护层构造应符合下列规定:
a)保护层构造应包括基层、防腐蚀底漆、拉结镀锌钢丝网、轻质耐火混凝土防火保护层或水泥砂浆防火保护层;
b)轻质耐火混凝土防火保护层或水泥砂浆防火保护层端部接缝处,应采用防水油膏封严;
c)当处于强腐蚀环境时,防火保护层外表面应按本规范第7.2d)项的规定采用防腐蚀面层;
d)涂层拐角做成半径为10mm的圆弧形。




8 防火保护工程质量要求
8.1 一般规定
8.1.1 钢结构防火保护层,应在构件制作和安装工程的质量检验合格后进行。
8.1.2 防火涂料涂装工程应由经过专门培训的施工人员施工。
8.2 基层表面处理
8.2.1 钢结构表面应进行除锈,当钢结构表面被油污污染时应将油污清除后再除锈。除锈等级应符合GB/T 8923《涂装前钢材表面锈蚀等级和除锈等级》规定的Sa2.5级或St3级。
8.2.2 钢结构基层经处理后,应及时刷上防腐蚀底漆,间隔时间不应超过8h。
8.3 防火保护层
8.3.1 钢结构防火保护层不得误涂、漏涂,不应有脱层,外观应无明显凹凸,并应粘结牢固,无粉化。
8.3.2 钢结构防火保护层施工质量应符合表8.3.2的规定,并应符合下列要求:
a)用0.6kg手锤轻轻敲击检查防火保护层密实度,声音应铿实清脆,无松散、无空鼓声;
b)同类构件数抽查10%,且不少于3件,每件应抽查3点。

9 工程验收
9.1 钢结构防火保护工程,应进行交工验收,未经交工验收不得投入生产使用。
9.2 钢结构防火保护层施工前,应先对基层检查验收,合格后办理工序交接手续。
9.3 钢结构防火保护工程交工验收时,应提供下列资料:
a) 国家质量监督检测机构对所用产品耐火极限和理化性能的检测报告;
b) 抽检的粘结强度、抗压强度等检测报告;
c) 产品的合格证、检验证;
d) 钢结构基层处理及其他隐蔽工程等现场检查验收记录:
e) 工程变更记录和设计修改通知单。
9.4 钢结构防火保护工程交工验收,除检查有关文件记录外,还应对防火保护层厚度及外观进行抽查,其防火保护层的质量应符合本规范8.3.1条、8.3.2条的规定。
附录A(规范性附录)生产的火灾危险性分类
A.1 生产的火灾危险性应根据生产中使用或产生的物质性质及其数量等因素按表A.1和本规范A.2条~A.4条规定划分,可分为甲、乙、丙、丁、戊类。

A.2 同一座厂房或厂房的任一防火分区内有不同火灾危险性生产时,生产的火灾危险性分类应按火灾危险性较大的部分确定。
A.3 同一座厂房或厂房的任一防火分区内有不同火灾危险性生产,当同时符合下述条件时,可按火灾危险性较小的部分确定:
a)火灾危险性较大的生产部分占本层或本防火分区面积的比例小于5%;
b)发生火灾事故时不足以蔓延到其他部位或火灾危险性较大的生产部分采取了防火措施。
A.4 当生产过程中使用或产生易燃、可燃物的量较少,不足以构成爆炸或火灾危险时,可按实际情况确定其生产的火灾危险性类别。
附录A(规范性附录)生产的火灾危险性分类
A.1 生产的火灾危险性应根据生产中使用或产生的物质性质及其数量等因素按表A.1和本规范A.2条~A.4条规定划分,可分为甲、乙、丙、丁、戊类。

A.2 同一座厂房或厂房的任一防火分区内有不同火灾危险性生产时,生产的火灾危险性分类应按火灾危险性较大的部分确定。
A.3 同一座厂房或厂房的任一防火分区内有不同火灾危险性生产,当同时符合下述条件时,可按火灾危险性较小的部分确定:
a)火灾危险性较大的生产部分占本层或本防火分区面积的比例小于5%;
b)发生火灾事故时不足以蔓延到其他部位或火灾危险性较大的生产部分采取了防火措施。
A.4 当生产过程中使用或产生易燃、可燃物的量较少,不足以构成爆炸或火灾危险时,可按实际情况确定其生产的火灾危险性类别。
附录B(规范性附录)仓库储存物品火灾危险性分类
B.1 储存物品的火灾危险性应根据储存物品的性质和储存物品中的可燃物数量等因素划分,可分为甲、乙、丙、丁、戊类,并应符合表B.1的规定。

B.2 储存物品的火灾危险性分类除应符合本规范B.1条的规定外,还应符合下列规定:
a)同一座仓库或仓库的任一防火分区内储存不同火灾危险性物品时,该仓库或防火分区的火灾危险性应按其中火灾危险性最大的类别确定;
b)丁、戊类储存物品的可燃包装重量大于物品本身重量1/4的仓库,其火灾危险性应按丙类确定。
附录C(规范性附录)厚型钢结构防火涂料涂层厚度计算方法
C.1 在设计钢结构构件厚型防火涂料涂层厚度时,可根据标准耐火试验得出的某一耐火极限的涂层厚度,推算不同构件达到相同耐火极限所需的同种防火涂料的涂层厚度,其厚度按公式(C.1)计算:

式中:
a——待涂构件防火涂层厚度,mm;
as——标准耐火试验得出的构件防火涂料涂层厚度,mm;
g——待涂构件每延米质量,kg/m;
gs——标准耐火试验时钢梁每延米质量,kg/m;
μ——待涂构件防火涂层接触面周长,m;
μs——标准耐火试验构件防火涂层接触面周长,m;
k——系数,对于钢柱取1.25;对于钢梁及其他构件取1.0。
C.2 在使用公式(C.1)计算钢结构构件厚型防火涂料涂层厚度时,应同时满足下列条件:
a) g/μ≥22;
b) as≥9mm;
c) 耐火极限≥1.0h。
本规范用词说明
1 为便于在执行本规范条文时区别对待,对要求严格程度不同的用词说明如下:
1)表示很严格、非这样做不可的:
正面词采用“必须”,反面词采用“严禁”;
2)表示严格,在正常情况下均应这样做的:
正面词采用“应”,反面词采用“不应”或“不得”;
3)表示允许稍有选择,在条件许可时首先应这样做的:
正面词采用“宜”,反面词采用“不宜”;
4)表示有选择,在一定条件下可以这样做的,采用“可”。
2 条文中指明应按其他有关标准执行的写法为:“应符合……的规定”或“应按……按行”。
